返回>>
DYZ-100-01B檢測換能器
名稱:100KHz檢測換能器
型號:DYZ-100-01B
電容量:3000pF±20% @1KHz
工作溫度:-40~+80℃
頻率:100KHz±2KHz
工作電壓:峰值電壓<150Vpp
外殼材質:弱酸弱堿環境下可以使用(POM)
全國熱線
0591-28082552
產品詳情
一、換能器的主要技術指標
項目 | 技術指標 | 實物圖片 |
名稱 | 100KHz檢測換能器 |
|
型號 | DYZ-100-01B | |
頻率 | 100KHz±2KHz | |
最小阻抗 | 40Ω±20% | |
電容量 | 3000pF±20% @1KHz | |
工作電壓 | 峰值電壓<150Vpp | |
工作溫度 | -40~+80℃ | |
壓力 | ≤3公斤或者0.3MPa | |
外殼材質 | 弱酸弱堿環境下可以使用(POM) | |
用途 | 用超聲波替代“針灸” | |
安裝尺寸 | 詳見產品結構圖 | |
防護等級 | IP68 | |
重量 | 190g±5%(50cm) | |
接線說明 | BNC接口 | |
二、換能器的導納曲線圖

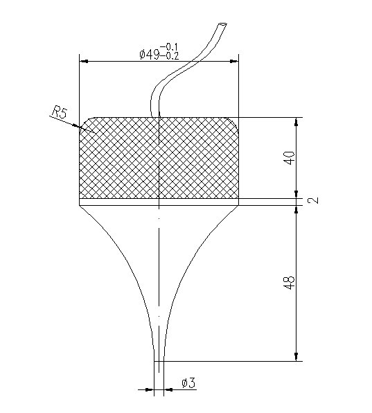
三、換能器產品結構圖

上一條
DYZ-500-01B檢測換能器
下一條
暫無~
產品中心
聯系我們
全國咨詢熱線:0591-28082552
QQ:2187169532
手機:18050180580
郵箱:2187169532@qq.com
地址:福建省福州市晉安區福興經濟開發區紅光路11號E座







